- Motoren
- Motorenzubehör
- Antrieb
- Navigation
-
Zubehör
- Anker
- Anoden
- Beleuchtung
- Boote
- Bug- und Heckschrauben
- Deckausrüstung
- Farben und Pflegemittel
- Fittinge
- Grillen
- Heizen
- Instrumente
- SUP/Kajak
- Klima
- Kochen
- Kommunikation Entertainment
- Kühlen
- Lüftung
- Luken, Bullaugen, Scheibenwischer
- Navigation
- Öle und Kühlmittel
- Persönliche Ausrüstung
- Pumpen
- Sanitär
- Schläuche
- Sicherheit
- Steuerung
- Strom
- Trinkwasser
- Gutachterservice
Produkte filtern
Wasserheizgeräte
LU THERMO PRO 50E D 24V MARINEWebasto - Wasserheizgerät Thermo Top Evo / Thermo Pro 50 EcoDiese kompakte 5-kW-Einheit ist für die meisten Marine-Anwendungen bestens geeignet und zeichnet sich durch eine kompakte Bauweise, wartungsfreundliche Technologie und geringe Geräuschentwicklung aus.Die Vorteile der Wasserheizgeräte- Heizkomfort wie zu Hause- Gleichmäßige Wärmeverteilung durch Heizkörper- Warmwasser für Dusche und Bordküche- Geräuscharmer Betrieb- Platzsparender Einbau im Maschinenraum- Ausgezeichnete Kombinationsmöglichkeiten mit Webasto BlueCool Klimaanlagen- Separate Temperaturregelung für jede Kabine- Niedriger Kraftstoffverbrauch- Kompakte Bauweise- Vorheizen des Motors zur Vermeidung von Kaltstarts möglich- Erfüllt die aktuellen Anforderungen und Normen für Boote- Robustes Aluminiumgehäuse, widerstandsfähig gegenüber hohen Temperaturen oder SalzLieferumfang1 Heizgerät2 Kühlmittelpumpe U4847 mit Befestigung3 Heizgerätehalterung4 MultiControl mit Halterung5 Kabelbaum6 Abgasreduzierer7 Abgasschalldämpfer8 Bordwanddurchführung für Abgasaustritt9 Lufteintrittsschalldämpfer10 Ansaugschalldämpfer11 Kraftstoffpumpe DP42 mit Befestigung12 Kraftstoffschlauch13 Tankentnehmer14 Anschlussstück für Kühlmittel15 KühlmittelschlauchMontageteileDownloads:EinbauanleitungBedienungsanleitungErsatzteileDeclaration of Confirmity
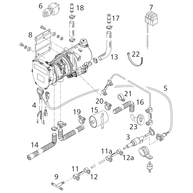
LU THERMO PRO 90 D 12V BOOTWebasto - Wasserheizgeräte Thermo Pro 90/Thermo Pro 90 ChillerThermo Pro 90 – modernste Bedienung und äußerst wartungsfreundlichDieses Gerät ist ideal für den täglichen Gebrauch: stufenlose Temperaturregelung, hohe Heizleistung, kompakte Abmessungen, wartungsfreundliche Technik und ein extrem niedriges Geräuschniveau.Thermo Pro 90 Chiller – das Heizgerät für den Einbau in ein KlimaanlagensystemWenn Sie ein BlueComfort-System mit einem Thermo Pro 90 Heizgerät kombinieren wollen, dann ist das Modell Thermo Pro 90 Chiller genau das Richtige für Sie. Es wird mit einem speziellen elektronischen Bedienelement, aber ohne die Wasserpumpe (die nicht benötigt wird) ausgeliefert.Die Vorteile der Thermo Pro 90- Ideal für den täglichen Gebrauch- Stufenlose Temperaturregelung- Hohe Heizleistung- Kompakte Abmessungen- Wartungsfreundliche Technik- Extrem niedriges GeräuschniveauLieferumfang1 1x Heizgerät 12 oder 24 V mit Umwälzpumpe und elektronischem Bedienelement (Thermo Pro 90 Chiller ohne Umwälzpumpe)2 1x elektronisches Bedienelement3 1x Dosierpumpe4 1x Kabelbaum (Heizgerät, 570 mm)5 1x Kabelbaum (Dosierpumpe, 5.000 mm)6 1x Schalter mit Lampe 12 oder 24 V (nicht mit 9029942A und 9029943A)7 1x Sicherungshalter mit Kabelbaum8 1x Halterung für Heizgerät9 1x T-Stück mit Kraftstoffschläuchen und Schlauchschellen (8 x 5 x 8)10 1x Schlauch Ø 5 x 1,5, 6.000 mm11 4x Kraftstoffschlauch Øi 4,5 / Øa 10,5, 50 mm11a 2x Kraftstoffschlauch Øi 8 / Øa 12, 70 mm12 8x Schlauchschelle (Stahl) Ø 1012a 4x Schlauchschelle (Stahl) Ø 1213 1x Krümmer Øi 20 / Øa 29, 2.200 mm14 1x Ansaugschalldämpfer PAK Øi 30,5 / Øa 38, 1.160 mm15 1x Abgasschalldämpfer Øa 3816 1x flexibles Rohr (nicht oxidierend) Øi 38 / Øa 42, 1.600 mm (1 x 1.000 mm + 1 x 600 mm)17 2x Verbindungsrohr Ø 18 x 2018 2x Verbindungsrohr Ø 20 x 2019 7x Schlauchschelle Ø 23 … 3520 3x Schlauchschelle Ø 39 … 4221 2x Rohrschelle Ø 4222 15x Kabelbinder 178 mm23 1x BordwanddurchführungDownloads:Declaration of Cinfirmity 65BedienungsanleitungBedienungsanleitung Engine OffEinbauanleitung Engine OffAnleitung BrennstofftangErsatzteileEinbauanleitung
LU THERMO PRO 90 D 12V CHILLER BOOTWebasto - Wasserheizgeräte Thermo Pro 90/Thermo Pro 90 ChillerThermo Pro 90 – modernste Bedienung und äußerst wartungsfreundlichDieses Gerät ist ideal für den täglichen Gebrauch: stufenlose Temperaturregelung, hohe Heizleistung, kompakte Abmessungen, wartungsfreundliche Technik und ein extrem niedriges Geräuschniveau.Thermo Pro 90 Chiller – das Heizgerät für den Einbau in ein KlimaanlagensystemWenn Sie ein BlueComfort-System mit einem Thermo Pro 90 Heizgerät kombinieren wollen, dann ist das Modell Thermo Pro 90 Chiller genau das Richtige für Sie. Es wird mit einem speziellen elektronischen Bedienelement, aber ohne die Wasserpumpe (die nicht benötigt wird) ausgeliefert.Die Vorteile der Thermo Pro 90- Ideal für den täglichen Gebrauch- Stufenlose Temperaturregelung- Hohe Heizleistung- Kompakte Abmessungen- Wartungsfreundliche Technik- Extrem niedriges GeräuschniveauLieferumfang1 1x Heizgerät 12 oder 24 V mit Umwälzpumpe und elektronischem Bedienelement (Thermo Pro 90 Chiller ohne Umwälzpumpe)2 1x elektronisches Bedienelement3 1x Dosierpumpe4 1x Kabelbaum (Heizgerät, 570 mm)5 1x Kabelbaum (Dosierpumpe, 5.000 mm)6 1x Schalter mit Lampe 12 oder 24 V (nicht mit 9029942A und 9029943A)7 1x Sicherungshalter mit Kabelbaum8 1x Halterung für Heizgerät9 1x T-Stück mit Kraftstoffschläuchen und Schlauchschellen (8 x 5 x 8)10 1x Schlauch Ø 5 x 1,5, 6.000 mm11 4x Kraftstoffschlauch Øi 4,5 / Øa 10,5, 50 mm11a 2x Kraftstoffschlauch Øi 8 / Øa 12, 70 mm12 8x Schlauchschelle (Stahl) Ø 1012a 4x Schlauchschelle (Stahl) Ø 1213 1x Krümmer Øi 20 / Øa 29, 2.200 mm14 1x Ansaugschalldämpfer PAK Øi 30,5 / Øa 38, 1.160 mm15 1x Abgasschalldämpfer Øa 3816 1x flexibles Rohr (nicht oxidierend) Øi 38 / Øa 42, 1.600 mm (1 x 1.000 mm + 1 x 600 mm)17 2x Verbindungsrohr Ø 18 x 2018 2x Verbindungsrohr Ø 20 x 2019 7x Schlauchschelle Ø 23 … 3520 3x Schlauchschelle Ø 39 … 4221 2x Rohrschelle Ø 4222 15x Kabelbinder 178 mm23 1x BordwanddurchführungDownloads:BedienungsanleitungBedienungsanleitung Engine OffEinbauanleitung Engine OffAnleitung BrennstofftankErsatzteileEinbauanleitungDeclaration of Confirmity
LU THERMO PRO 90 D 24V BOOTWebasto - Wasserheizgeräte Thermo Pro 90/Thermo Pro 90 ChillerThermo Pro 90 – modernste Bedienung und äußerst wartungsfreundlichDieses Gerät ist ideal für den täglichen Gebrauch: stufenlose Temperaturregelung, hohe Heizleistung, kompakte Abmessungen, wartungsfreundliche Technik und ein extrem niedriges Geräuschniveau.Thermo Pro 90 Chiller – das Heizgerät für den Einbau in ein KlimaanlagensystemWenn Sie ein BlueComfort-System mit einem Thermo Pro 90 Heizgerät kombinieren wollen, dann ist das Modell Thermo Pro 90 Chiller genau das Richtige für Sie. Es wird mit einem speziellen elektronischen Bedienelement, aber ohne die Wasserpumpe (die nicht benötigt wird) ausgeliefert.Die Vorteile der Thermo Pro 90- Ideal für den täglichen Gebrauch- Stufenlose Temperaturregelung- Hohe Heizleistung- Kompakte Abmessungen- Wartungsfreundliche Technik- Extrem niedriges GeräuschniveauLieferumfang1 1x Heizgerät 12 oder 24 V mit Umwälzpumpe und elektronischem Bedienelement (Thermo Pro 90 Chiller ohne Umwälzpumpe)2 1x elektronisches Bedienelement3 1x Dosierpumpe4 1x Kabelbaum (Heizgerät, 570 mm)5 1x Kabelbaum (Dosierpumpe, 5.000 mm)6 1x Schalter mit Lampe 12 oder 24 V (nicht mit 9029942A und 9029943A)7 1x Sicherungshalter mit Kabelbaum8 1x Halterung für Heizgerät9 1x T-Stück mit Kraftstoffschläuchen und Schlauchschellen (8 x 5 x 8)10 1x Schlauch Ø 5 x 1,5, 6.000 mm11 4x Kraftstoffschlauch Øi 4,5 / Øa 10,5, 50 mm11a 2x Kraftstoffschlauch Øi 8 / Øa 12, 70 mm12 8x Schlauchschelle (Stahl) Ø 1012a 4x Schlauchschelle (Stahl) Ø 1213 1x Krümmer Øi 20 / Øa 29, 2.200 mm14 1x Ansaugschalldämpfer PAK Øi 30,5 / Øa 38, 1.160 mm15 1x Abgasschalldämpfer Øa 3816 1x flexibles Rohr (nicht oxidierend) Øi 38 / Øa 42, 1.600 mm (1 x 1.000 mm + 1 x 600 mm)17 2x Verbindungsrohr Ø 18 x 2018 2x Verbindungsrohr Ø 20 x 2019 7x Schlauchschelle Ø 23 … 3520 3x Schlauchschelle Ø 39 … 4221 2x Rohrschelle Ø 4222 15x Kabelbinder 178 mm23 1x BordwanddurchführungDownloads:BedienungsanleitungBedienungsanleitung Engine OffEinbauanleitung Engine OffAnleitungErsatzteileEinbauanleitungDeclaration of Confirmity
LU THERMO PRO 90 D 24V CHILLER BO0TWebasto - Wasserheizgeräte Thermo Pro 90/Thermo Pro 90 ChillerThermo Pro 90 – modernste Bedienung und äußerst wartungsfreundlichDieses Gerät ist ideal für den täglichen Gebrauch: stufenlose Temperaturregelung, hohe Heizleistung, kompakte Abmessungen, wartungsfreundliche Technik und ein extrem niedriges Geräuschniveau.Thermo Pro 90 Chiller – das Heizgerät für den Einbau in ein KlimaanlagensystemWenn Sie ein BlueComfort-System mit einem Thermo Pro 90 Heizgerät kombinieren wollen, dann ist das Modell Thermo Pro 90 Chiller genau das Richtige für Sie. Es wird mit einem speziellen elektronischen Bedienelement, aber ohne die Wasserpumpe (die nicht benötigt wird) ausgeliefert.Die Vorteile der Thermo Pro 90- Ideal für den täglichen Gebrauch- Stufenlose Temperaturregelung- Hohe Heizleistung- Kompakte Abmessungen- Wartungsfreundliche Technik- Extrem niedriges GeräuschniveauLieferumfang1 1x Heizgerät 12 oder 24 V mit Umwälzpumpe und elektronischem Bedienelement (Thermo Pro 90 Chiller ohne Umwälzpumpe)2 1x elektronisches Bedienelement3 1x Dosierpumpe4 1x Kabelbaum (Heizgerät, 570 mm)5 1x Kabelbaum (Dosierpumpe, 5.000 mm)6 1x Schalter mit Lampe 12 oder 24 V (nicht mit 9029942A und 9029943A)7 1x Sicherungshalter mit Kabelbaum8 1x Halterung für Heizgerät9 1x T-Stück mit Kraftstoffschläuchen und Schlauchschellen (8 x 5 x 8)10 1x Schlauch Ø 5 x 1,5, 6.000 mm11 4x Kraftstoffschlauch Øi 4,5 / Øa 10,5, 50 mm11a 2x Kraftstoffschlauch Øi 8 / Øa 12, 70 mm12 8x Schlauchschelle (Stahl) Ø 1012a 4x Schlauchschelle (Stahl) Ø 1213 1x Krümmer Øi 20 / Øa 29, 2.200 mm14 1x Ansaugschalldämpfer PAK Øi 30,5 / Øa 38, 1.160 mm15 1x Abgasschalldämpfer Øa 3816 1x flexibles Rohr (nicht oxidierend) Øi 38 / Øa 42, 1.600 mm (1 x 1.000 mm + 1 x 600 mm)17 2x Verbindungsrohr Ø 18 x 2018 2x Verbindungsrohr Ø 20 x 2019 7x Schlauchschelle Ø 23 … 3520 3x Schlauchschelle Ø 39 … 4221 2x Rohrschelle Ø 4222 15x Kabelbinder 178 mm23 1x BordwanddurchführungDownloads:BedienungsanleitungBedienungsanleitung Engine OffEinbauanleitung Engine OffAnleitung BrennstofftankErsatzteileEinbauanleitungDeclaration of Confirmity
LU TT-EVO BOOT 12V DIESELWebasto - Wasserheizgerät Thermo Top Evo / Thermo Pro 50 EcoDiese kompakte 5-kW-Einheit ist für die meisten Marine-Anwendungen bestens geeignet und zeichnet sich durch eine kompakte Bauweise, wartungsfreundliche Technologie und geringe Geräuschentwicklung aus.Die Vorteile der Wasserheizgeräte- Heizkomfort wie zu Hause- Gleichmäßige Wärmeverteilung durch Heizkörper- Warmwasser für Dusche und Bordküche- Geräuscharmer Betrieb- Platzsparender Einbau im Maschinenraum- Ausgezeichnete Kombinationsmöglichkeiten mit Webasto BlueCool Klimaanlagen- Separate Temperaturregelung für jede Kabine- Niedriger Kraftstoffverbrauch- Kompakte Bauweise- Vorheizen des Motors zur Vermeidung von Kaltstarts möglich- Erfüllt die aktuellen Anforderungen und Normen für Boote- Robustes Aluminiumgehäuse, widerstandsfähig gegenüber hohen Temperaturen oder SalzLieferumfang1 Heizgerät2 Kühlmittelpumpe U4847 mit Befestigung3 Heizgerätehalterung4 MultiControl mit Halterung5 Kabelbaum6 Abgasreduzierer7 Abgasschalldämpfer8 Bordwanddurchführung für Abgasaustritt9 Lufteintrittsschalldämpfer10 Ansaugschalldämpfer11 Kraftstoffpumpe DP42 mit Befestigung12 Kraftstoffschlauch13 Tankentnehmer14 Anschlussstück für Kühlmittel15 KühlmittelschlauchMontageteileDownloads:BedienungsanleitungEinbauanleitungEinbauanleitung ThermoschalterErsatzteileDeclaration of Confirmity
LU TTP120 12V BASICWebasto - Wasserheizgeräte Thermo Top Pro 120/150Mehr Leistung und Innovation in Bezug auf Kundenkomfort und -sicherheitThermo Top Pro 120 und Thermo Top Pro 150 repräsentieren eine neue Generation von Wasserheizgeräten in den Hochleistungsklassen 12 und 15 kW. Die leistungsstarken Heizgeräte sind jeweils in 12 und 24 V Versionen erhältlich und sind ideal für den Einsatz in mariner Umgebung geeignet.Die Vorteile des Thermo Top Pro 120/150- Kleines, leichtes und schlankes Design- Herkömmlicher Dieselkraftstoff und 100 % paraffinischer Dieselkraftstoff (einschließlich erneuerbarer Kraftstoffe wie HVO)- Bedienelement und alle Anschlüsse auf einer Seite- Leicht zugängliche Stecker zur schnellen Installation- Geringe Geräuschemission- Mehr Sicherheits- und Diagnosefunktionen- Neue, leistungsstarke Kühlmittelpumpe U4850Lieferumfang Heizgerät1 Heizgerät2 Kühlmittelpumpe 48503 Spritzschutz4 Halterung, Kühlmittelpumpe5 Befestigungsmaterial,KraftstoffLieferumfang optionales Einbaukit6 Kabelbaum, Kühlmittelpumpe7 Kabelbaum, Fahrzeug,Fahrzeuggebläse, Sicherungshalterung8 Flexibles Auspuffrohr*9 Befestigungsmaterial, Auspuff*10 Kühlmittelschlauch11 Befestigungsmaterial, Kühlmittel12 Kraftstoffschlauch13 Kraftstofffilter14 Befestigungsmaterial, Kraftstofffilter15 Befestigungsmaterial, Heizgerät16 Befestigungsmaterial, ElektrikDownloads:EinbauanleitungBedienungsanleitungDeclaration of Confirmity
LU TTP120 24V BASICWebasto - Wasserheizgeräte Thermo Top Pro 120/150Mehr Leistung und Innovation in Bezug auf Kundenkomfort und -sicherheitThermo Top Pro 120 und Thermo Top Pro 150 repräsentieren eine neue Generation von Wasserheizgeräten in den Hochleistungsklassen 12 und 15 kW. Die leistungsstarken Heizgeräte sind jeweils in 12 und 24 V Versionen erhältlich und sind ideal für den Einsatz in mariner Umgebung geeignet.Die Vorteile des Thermo Top Pro 120/150- Kleines, leichtes und schlankes Design- Herkömmlicher Dieselkraftstoff und 100 % paraffinischer Dieselkraftstoff (einschließlich erneuerbarer Kraftstoffe wie HVO)- Bedienelement und alle Anschlüsse auf einer Seite- Leicht zugängliche Stecker zur schnellen Installation- Geringe Geräuschemission- Mehr Sicherheits- und Diagnosefunktionen- Neue, leistungsstarke Kühlmittelpumpe U4850Lieferumfang Heizgerät1 Heizgerät2 Kühlmittelpumpe 48503 Spritzschutz4 Halterung, Kühlmittelpumpe5 Befestigungsmaterial,KraftstoffLieferumfang optionales Einbaukit6 Kabelbaum, Kühlmittelpumpe7 Kabelbaum, Fahrzeug,Fahrzeuggebläse, Sicherungshalterung8 Flexibles Auspuffrohr*9 Befestigungsmaterial, Auspuff*10 Kühlmittelschlauch11 Befestigungsmaterial, Kühlmittel12 Kraftstoffschlauch13 Kraftstofffilter14 Befestigungsmaterial, Kraftstofffilter15 Befestigungsmaterial, Heizgerät16 Befestigungsmaterial, ElektrikDownloads:EinbauanleitungBedienungsanleitungDeclaration of Confirmity
LU TTP150 12V BASICWebasto - Wasserheizgeräte Thermo Top Pro 120/150Mehr Leistung und Innovation in Bezug auf Kundenkomfort und -sicherheitThermo Top Pro 120 und Thermo Top Pro 150 repräsentieren eine neue Generation von Wasserheizgeräten in den Hochleistungsklassen 12 und 15 kW. Die leistungsstarken Heizgeräte sind jeweils in 12 und 24 V Versionen erhältlich und sind ideal für den Einsatz in mariner Umgebung geeignet.Die Vorteile des Thermo Top Pro 120/150- Kleines, leichtes und schlankes Design- Herkömmlicher Dieselkraftstoff und 100 % paraffinischer Dieselkraftstoff (einschließlich erneuerbarer Kraftstoffe wie HVO)- Bedienelement und alle Anschlüsse auf einer Seite- Leicht zugängliche Stecker zur schnellen Installation- Geringe Geräuschemission- Mehr Sicherheits- und Diagnosefunktionen- Neue, leistungsstarke Kühlmittelpumpe U4850Lieferumfang Heizgerät1 Heizgerät2 Kühlmittelpumpe 48503 Spritzschutz4 Halterung, Kühlmittelpumpe5 Befestigungsmaterial,KraftstoffLieferumfang optionales Einbaukit6 Kabelbaum, Kühlmittelpumpe7 Kabelbaum, Fahrzeug,Fahrzeuggebläse, Sicherungshalterung8 Flexibles Auspuffrohr*9 Befestigungsmaterial, Auspuff*10 Kühlmittelschlauch11 Befestigungsmaterial, Kühlmittel12 Kraftstoffschlauch13 Kraftstofffilter14 Befestigungsmaterial, Kraftstofffilter15 Befestigungsmaterial, Heizgerät16 Befestigungsmaterial, ElektrikDownloads:EinbauanleitungBedienungsanleitungDeclaration of Confirmity
LU TTP150 24V BASICWebasto - Wasserheizgeräte Thermo Top Pro 120/150Mehr Leistung und Innovation in Bezug auf Kundenkomfort und -sicherheitThermo Top Pro 120 und Thermo Top Pro 150 repräsentieren eine neue Generation von Wasserheizgeräten in den Hochleistungsklassen 12 und 15 kW. Die leistungsstarken Heizgeräte sind jeweils in 12 und 24 V Versionen erhältlich und sind ideal für den Einsatz in mariner Umgebung geeignet.Die Vorteile des Thermo Top Pro 120/150- Kleines, leichtes und schlankes Design- Herkömmlicher Dieselkraftstoff und 100 % paraffinischer Dieselkraftstoff (einschließlich erneuerbarer Kraftstoffe wie HVO)- Bedienelement und alle Anschlüsse auf einer Seite- Leicht zugängliche Stecker zur schnellen Installation- Geringe Geräuschemission- Mehr Sicherheits- und Diagnosefunktionen- Neue, leistungsstarke Kühlmittelpumpe U4850Lieferumfang Heizgerät1 Heizgerät2 Kühlmittelpumpe 48503 Spritzschutz4 Halterung, Kühlmittelpumpe5 Befestigungsmaterial,KraftstoffLieferumfang optionales Einbaukit6 Kabelbaum, Kühlmittelpumpe7 Kabelbaum, Fahrzeug,Fahrzeuggebläse, Sicherungshalterung8 Flexibles Auspuffrohr*9 Befestigungsmaterial, Auspuff*10 Kühlmittelschlauch11 Befestigungsmaterial, Kühlmittel12 Kraftstoffschlauch13 Kraftstofffilter14 Befestigungsmaterial, Kraftstofffilter15 Befestigungsmaterial, Heizgerät16 Befestigungsmaterial, ElektrikDownloads:BedienungsanleitungDeclaration of ConfirmityEinbauanleitungErsatzteile vorläufig